PS8/20W消防水炮
更新时间:2024-03-29 14:43:04
*射程远、水流集中、保护面积大*操作灵活方便、炮身可做水平回转和仰俯回转*喷射可做直流和喷雾*适用于消防车、消防艇、固定消防炮塔和消防...
威斯特固定式消防炮代表了成都威斯特消防机械有限公司新一代的消防炮创新设计技术水平。独有的流道设计不仅结构紧凑,而且性能优越。该型号消防炮射程远、射流集中、保护面积大;操作灵活方便、炮身可同时进行水平回转和仰俯回转;该消防炮适用于消防车和石油、化工、码头等企业场所;


* 结构简单、新颖;
* 性能稳定、维修方便;
* 入口压力低;
* 具有开花/直流两种喷射功能;
* 重量轻;
* 配置自动泄水阀;
* 具有水平、俯仰锁紧功能;
* 材质:精密铸造铝合金;
* 主要规格、性能参数均符合中华人民共和国标准GB19156-2019《消防炮通用技术条件》的要求。
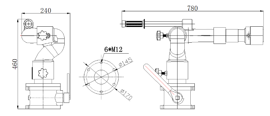
主要性能参数表
| 型号 | 流 量 (L/s) |
射 程 (m) |
额定工作压力(Mpa) |
俯仰旋转
(°)
|
水平旋转 (°) |
长×宽×高 (mm) |
重量 (Kg) |
| PS8/20W | 20 | ≥50 | 0.80 | -35~+70 | 0~360 | 780×240×460 | 11 |

24小时服务热线:
